Insight Lawn Mower
Product Information
- Model #: 10671
- Serial #: 260000001 - 260999999
- Product Type: Walk Behind Mowers
Loading...
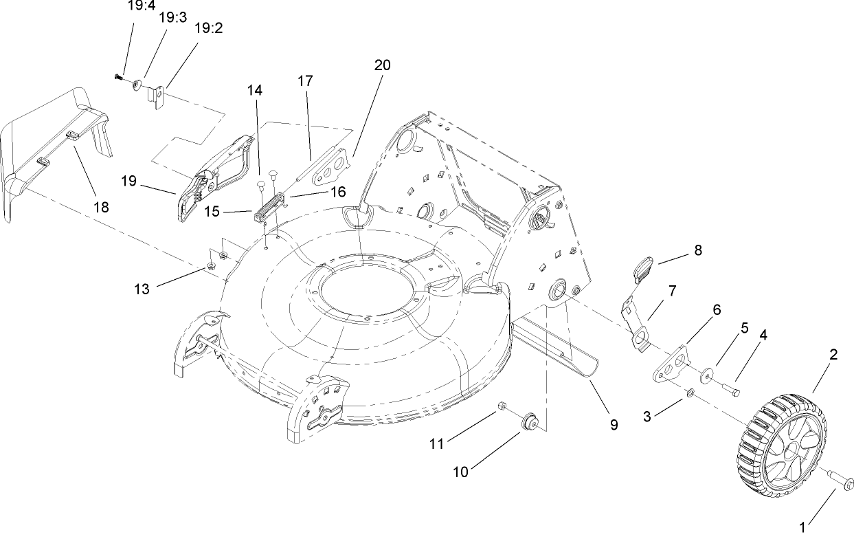
Assembly Drawings
Search for a part within assembly drawings:
-
Service Manual
-
Operator's Manual
-
Model #: 110-8800
Lawn-Boy Leaf Green Paint, 4.5 oz. spray can -
Model #: 110-8801
Height-Of-Cut Kit, Insight Lawn Mowers -
Model #: 112-1530
KIT-LOOSE PARTS -
Model #: 215326
Lawn-Boy Walk Mower Cover -
Model #: 490-7463
Plain Walk Mower Cover -
Model #: 89815
WPM REPLACEMENT BAG -
Model #: 89913
LB 21" MODULAR WPM REAR BAG KIT -
Model #: 89914
LB 21" MODULAR WPM BLADE -
Model #: 89945
LB AIR FILTER 4 CYCLE 6.5 TECUMSEH HO -
Model #: 89946
LB SPARK PLUG 4-CYCLE 6.5 TECUMSEH HO
-
Model #
10671 -
Serial #
260000001 - 260999999 -
Product Name
Insight Lawn Mower -
Product Brand
Lawnboy -
Product Type
Walk Behind Mowers -
Product Series
21" Steel Deck -
Chassis Type
Steel Deck WPM -
Swath
21 inch -
Discharge
Mulcher -
Engine/Motor Manufacturer
Tecumseh -
Engine/Motor Size
6.5 hp -
Engine/Motor Type
4 Cycle CARB3 2006, EPA2 -
Engine Starter
Recoil -
Transmission Type
Hand Push -
Traction Type
NA
-
Engine: Engine Speed
2900±150 RPM -
Engine: Ignition Coil Air Gap
.012" / .3mm -
Engine: Spark Plug
Champion RJ19LM -
Engine: Spark Plug Gap
.030"/ .76mm -
Engine: Engine Oil Type
20 oz. (.6l) 30w / API SH or higher -
Chassis: Height of Cut Range
1" - 4" (2.5-10 cm)










