Gold Series Lawnmower
Product Information
- Model #: 10515
- Serial #: 3900001 - 3999999
- Product Type: Walk Behind Mowers
Loading...
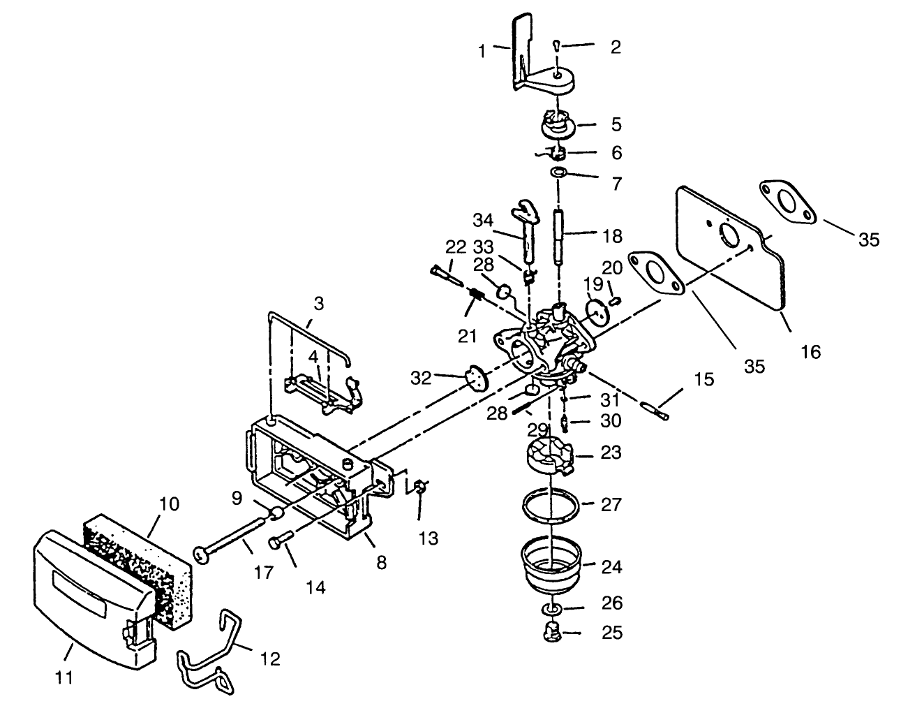
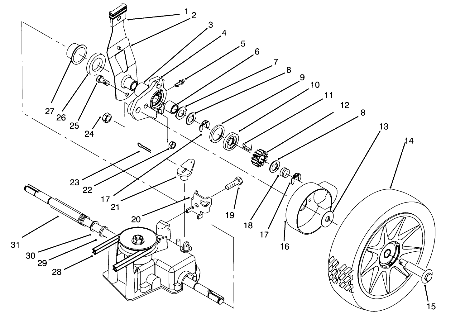
Assembly Drawings
Search for a part within assembly drawings:
-
Service Manual
-
Operator's Manual
-
Model #: 88598
Paint, Touch Up -
Model #: 89800
Rear Bag Chute Kit -
Model #: 89801
21-Inch Rear Grass Catcher -
Model #: 89814
Grass Catcher -
Model #: 89816
Replacement Side Bag -
Model #: 89844
21'' Blade Kit -
Model #: 89860
Leaf Shredder -
Model #: 89864
Mulch Plate -
Model #: 89875
Fuel Conditioner -
Model #: 92-6353
Short Block
-
Model #
10515 -
Serial #
3900001 - 3999999 -
Product Name
Gold Series Lawnmower -
Product Brand
Lawnboy -
Product Type
Walk Behind Mowers -
Product Series
21" Cast Deck -
Chassis Type
Cast Deck WPM -
Swath
21 inch -
Discharge
Mulcher -
Engine/Motor Manufacturer
Lawn-Boy -
Engine/Motor Size
4 hp -
Engine/Motor Type
2 Cycle -
Engine Starter
Recoil -
Transmission Type
Gear
-
Chassis: Height of Cut Range
1-3.5"; 1/2" increments -
Drive System: Gearbox Lubricant
6 oz. (170gm) #2 Lithium grease -
Drive System: Ground Speed
1.7 / 2.6 / 3.6 mph -
Engine: Engine Oil Type
Lawn-Boy Gen 2 / NMMA-TCW3 -
Engine: Engine Speed
2900±300 RPM -
Engine: Ignition Coil Air Gap
.010" / .25mm -
Engine: Mix Ratio
32:1 (4.0 oz./gal.) -
Engine: Spark Plug
Champion RJ12C -
Engine: Spark Plug Gap
.035"/ .9mm








